Dalla spedizione gratuita di € 200! Visualizza di più

Paga successivamente con Klarna!

Ordinato oggi, inviato oggi! Visualizza di più

Disegni tecnici per Piaggio Piaggio 1 Moto 2022-2023 (NAFTA)

Seleziona il disegno tecnico

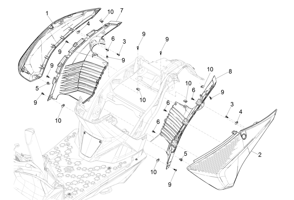
Fai clic di seguito sul disegno su cui la parte che stai cercando per la tua moto Piaggio Piaggio 1 2022-2023 (NAFTA).

Piaggio
Powered by Omni Themes