Dalla spedizione gratuita di € 200! Visualizza di più

Paga successivamente con Klarna!

Ordinato oggi, inviato oggi! Visualizza di più

Disegni tecnici per Piaggio Esagono 125 2T 1994-1998 (EMEA)

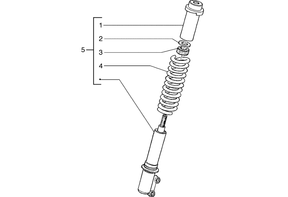
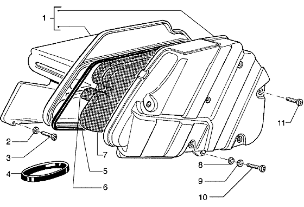
Seleziona il disegno tecnico

Fai clic di seguito sul disegno su cui la parte che stai cercando per il tuo Piaggio Esagono 125 2T 1994-1998 (EMEA).

Piaggio
Powered by Omni Themes